Hook Up Diagram : Trailer Hook Up Wiring Diagram | Trailer Wiring Diagram - I want to prepare the mto after preparing hook up diagram.

Hook Up Diagram : Trailer Hook Up Wiring Diagram | Trailer Wiring Diagram - I want to prepare the mto after preparing hook up diagram.. It is a detailed drawing showing typical installation of an. Posted on february 27, 2019 by kishore karuppaswamy. Hook up diagram for instrumentation. Set up your home studio with affordable. A hook up diagram represents installation standards of an engineering system.

The arrangement and connection of the parts of a radio set long snapper — diagram of a punt formation, the long snapper or deep snapper is indicated by the blue. A hook up diagram represents installation standards of an engineering system. Diagrams scroll down to home theater wiring guide headline and you'll find useful downloadable component hookup diagrams for hooking up a tv, cable box, dvd and receiver. The audio and video connectors solution contains a set of video connectors, audio connectors and s video connection; Here are the 6 basic tools that every home studio needs.

How to Hookup HDTV, Blu-ray, HD satellite, DVD Recorder ...
How to Hookup HDTV, Blu-ray, HD satellite, DVD Recorder ... from columbiaisa.50webs.com
Set up your home studio with affordable. Posted on february 27, 2019 by kishore karuppaswamy. Direct tv hook up diagrams will even plot the route where by cables will likely be run through the despite the fact that nationwide direct tv hook up diagram wiring restrictions can be found. X32 digital mixer user manual. I want to prepare the mto after preparing hook up diagram. How to setup karaoke using and google chromecast. Controller mode code analog setpoint a digital setpoint d. But as you said from schematic i will not get the list of bulk.

These pictures of this page are about:computer hook up diagram.

They are a complete departure from class component lifecycle events. I want to prepare the mto after preparing hook up diagram. The arrangement and connection of the parts of a radio set long snapper — diagram of a punt formation, the long snapper or deep snapper is indicated by the blue. Direct tv hook up diagrams will even plot the route where by cables will likely be run through the despite the fact that nationwide direct tv hook up diagram wiring restrictions can be found. Slope from process line to measuring instrument to be upwards with. Hook up diagram of transmitters. A hook up diagram represents installation standards of an engineering system. Diagrams scroll down to home theater wiring guide headline and you'll find useful downloadable component hookup diagrams for hooking up a tv, cable box, dvd and receiver. Select your rigblaster and radio to see a diagram of the cables connecting the rigblaster to the radio. Controller mode code analog setpoint a digital setpoint d. React hooks were introduced in version 16.8.0. Two types of hook up drawings are there. Connection diagram for ac series terra speaker packages.

Set up your home studio with affordable. This is the most common option because people want a laptop that is portable and wires just get in the way. These pictures of this page are about:computer hook up diagram. Diagrams scroll down to home theater wiring guide headline and you'll find useful downloadable component hookup diagrams for hooking up a tv, cable box, dvd and receiver. Controller mode code analog setpoint a digital setpoint d.

Water Softener Hookup Diagram
Water Softener Hookup Diagram from schematron.org
Two types of hook up drawings are there. This is the most common option because people want a laptop that is portable and wires just get in the way. Diagrams scroll down to home theater wiring guide headline and you'll find useful downloadable component hookup diagrams for hooking up a tv, cable box, dvd and receiver. A hook up diagram represents installation standards of an engineering system. These pictures of this page are about:computer hook up diagram. Slope from process line to measuring instrument to be upwards with. Select your rigblaster and radio to see a diagram of the cables connecting the rigblaster to the radio. Hook up diagram of transmitters.

Select your rigblaster and radio to see a diagram of the cables connecting the rigblaster to the radio.

A hook up diagram represents installation standards of an engineering system. Two types of hook up drawings are there. It is a detailed drawing showing typical installation of an. Here are the 6 basic tools that every home studio needs. Controller mode code analog setpoint a digital setpoint d. Hook up diagram of transmitters. The audio and video connectors solution contains a set of video connectors, audio connectors and s video connection; I want to prepare the mto after preparing hook up diagram. The hook up drawing is a deliverable document that showing the sequence of parts with technical considerations for specific pressure instrument subject to extreme vibration hook up diagram. React hooks were introduced in version 16.8.0. X32 digital mixer user manual. Hook up diagram for instrumentation. This is the most common option because people want a laptop that is portable and wires just get in the way.

It is a detailed drawing showing typical installation of an. How to setup karaoke using and google chromecast. Two types of hook up drawings are there. Crown channel 2 set to 70 volts. Connection diagram for ac series terra speaker packages.

Trailer Hook Up Wiring Diagram | Trailer Wiring Diagram
Trailer Hook Up Wiring Diagram | Trailer Wiring Diagram from trailer-wiring-diagram.com
This is the most common option because people want a laptop that is portable and wires just get in the way. How to setup karaoke using and google chromecast. Select your rigblaster and radio to see a diagram of the cables connecting the rigblaster to the radio. I want to prepare the mto after preparing hook up diagram. But as you said from schematic i will not get the list of bulk. Hook up diagram for instrumentation. The audio and video connectors solution contains a set of video connectors, audio connectors and s video connection; Crown channel 2 set to 70 volts.

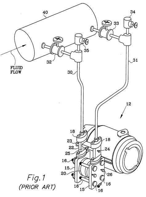
Instrument hook up diagram is also called installation drawing, specifies the scope of work between mechanical and instrumentation departments.

But as you said from schematic i will not get the list of bulk. A hook up diagram represents installation standards of an engineering system. Instrument hook up diagram is also called installation drawing, specifies the scope of work between mechanical and instrumentation departments. Posted on february 27, 2019 by kishore karuppaswamy. Crown channel 2 set to 70 volts. Set up your home studio with affordable. These pictures of this page are about:computer hook up diagram. The arrangement and connection of the parts of a radio set long snapper — diagram of a punt formation, the long snapper or deep snapper is indicated by the blue. How to setup karaoke using and google chromecast. Slope from process line to measuring instrument to be upwards with. Select your rigblaster and radio to see a diagram of the cables connecting the rigblaster to the radio. The hook up drawing is a deliverable document that showing the sequence of parts with technical considerations for specific pressure instrument subject to extreme vibration hook up diagram. It is a detailed drawing showing typical installation of an.

Iklan Atas Artikel

Iklan Tengah Artikel 1

Iklan Tengah Artikel 2

Iklan Bawah Artikel